22,Feb, 2022
Why Balance Testing is Important
You’ve invested in a high-quality balance for your lab, and you want to do everything you can to ensure consistent, ac...
18,Feb, 2022
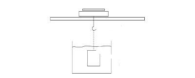
Calculating Density Using a Balance
This tutorial will guide you through density calculations for solids using a balance that does not have a density functi...
10,Feb, 2022
Adam Equipment's New Cruiser CDT Du...
Adam Equipment, a leading worldwide manufacturer of professional scales and balances, is expanding its Cruiser family of...
07,Feb, 2022
Why You Should Use a Scale to Weigh Yarn
When you think of knitting, you might imagine various tools, but you probably don’t expect a knitter to brag about the...





